內容目錄
1. 分流道的冷料井功能
冷料井(Cold Slug well)用來容納射出間隔所產生的冷料的井穴稱為冷料井(冷料穴)。冷料井一般開設在豎澆道對面的公模板上,直徑稍微大於或等於豎澆道大端直徑,深度為直徑的1~1.5倍,還有的會開設在分流道延長端(圖1)。
2. 底部帶頂針的冷料井
冷料井即構成冷料井底部的拉料桿有多種結構形式,它起到流道系統凝料從豎澆道拉出作用。冷料井和拉料桿的結構及特點說明如下。
(1) Z字形拉料桿
開模時Z字形鈎拉住流道系統凝料(圖2),將其從豎澆道中抽出,頂出機構動作時再將其頂出,Z字形拉料桿是常用的形式。

(2) 倒錐形冷料穴
開模時候倒錐形起拉料作用(圖3),然後利用頂針強制頂出。適合彈性較好的塑料。

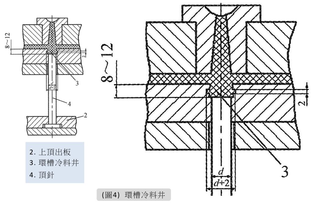
(3) 環形冷料穴
開模時環槽形的凸起部分起拉料作用(圖4),然後利用推桿強制推出。適合彈性較好的塑料。

3. 推板頂出的冷料井
拉料桿均固定在公模部分的型芯固定板上,不隨推板(中板)頂出機構動作,而是推板(中板)頂出將塑膠件時同時將流道凝料從拉料桿強制推出。
(1) 球頭形拉料桿(圖5)

(2) 菌頭形拉料桿(圖6)

(3) 分流錐形拉料桿(圖7)

4. 其他冷料井案例
以下的案例是以前自己去現場試模時看到不同形式的冷料井設計。
● 其他冷料井案例1(圖8)

● 其他冷料井案例2(圖9)

☆ 其他參考資料及文章
● Don’t Forget the Cold Slug Well
☆ 案例及資料下載
● 壓縮檔裡的檔案內容






